Antenna Handbook | Best Antennas, Antenna Free Calculators & Top Antenna Deals: DIY Groundplane Antenna

DIY Groundplane Antenna


Reliable communications in radio systems depends upon the over-all effectiveness of both the base station and mobile unit antennas. The radiation pattern of the transmitted signal is extremely important since it must be transmitted and received in densely populated areas as well as over long distances. If you are situated in the center of a town or a city, omnidirectional pattern is best suited for you. Omni- pattern is also the best choice when you do not know the exact direction or location of the station you are communicating with. Directive pattern is practical only if you know exactly which direction must the signal be beamed to, in order to maximize the transfer of RF energy. However, antennas with directive patterns are more complex in design and will be discussed later.
Generally, antennas for VHF bands are mounted as high off the ground as practical to overcome the limitations of the so called line-of-sight transmission and reception. An artificial ground must then be used since the antenna is well above the ground in this case. This is not a problem in automobiles since this artificial ground is provided by either the metal roof or body of the car. For tower installations however, some means must be provided to simulate this artificial ground. This is accomplished by the groundplane radials which are usually made of thin metal rods or tubes each cut to quarterwavelength long and mounted at the base of the antenna. The rods sometimes bend downward at an angle of about 45 degrees below the horizontal. This angle is important to maintain the correct impedance match of the system.




Construction 


First of all construct the antenna mount. It is made from a 1/8'' thick aluminum plate cut to 2'' x 6''. Drill a hole in the plate big enough for the SO-239 VHF connector to insert into (about 5/8'' or 15.8 mm). Drill the hole at the point about 1" away from one end (see Figure below).

Next drill four holes at the other end of the plate following Figure below for the proper dimensions. Make sure that the distance between one pair of holes perpendicular to the length of the metal sheet must be the same with the distance of both ends of the U-bolt that will be inserted into it.
Hole dimensions for the U-bolts

Next, drill eight holes (1/8" diameter) around the large hole following Figure below for the proper dimensions.
Hole dimensions for the radial elements around large hole.

Bend the aluminum plate down to a 90° angle (see Figure below). Follow the illustration for the exact point to bend. 

Bending The Aluminum mounting Plate

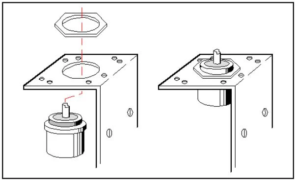
Insert the SO-239 VHF connector facing downwards into the mounting plate and fix it permanently with its nut (see Figure below). Discard the grounding ring/lug.

Mounting the SO-239 into the plate.

Cut the brass rod to a length of 19" (48.26 cm) and insert one of its end into the center pin of the SO-239 connector (see Figure below). The brass rod may or may not fit into the center pin immediately, so you may need to file away a small portion at the end of the rod to reduce it to a smaller diameter.

Preparing one end of the brass rod to fit inside the SO-239


Cut four aluminum tubes to a length of 20" each and drill two holes (1/8 " diameter) at one end (see Figure below). 

Bend the aluminum tubes to a 45 degree angle at the point 1 inch away for the end with two holes. The direction of the bend must be parallel with the axis of the drilled hole (see Figure below). 

Bending The Tubes

Mount the four aluminum tubes into the angled plate by bolting each element with 1/8" x 3/4" stove bolts (see Figure below). The stove bolts must be made of rust resistant material such as stainless steel, brass or GI. 

Mounting the tubes on the metal plate.

Finally , you can mount the antenna to the mast using the two U-bolts .

Mounting the antenna to the mast


No comments:

Post a Comment